據外媒報道,福特汽車公司獲得了一項新型自動充電系統的專利。

該專利申請于2020年9月10日,于2022年9月13日公布,專利號為11440424。
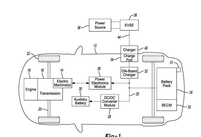
新專利概述了電動汽車自動充電系統的概念。該系統包括電源和連接到電源的充電單元。充電單元由儲能裝置和機器人耦合器組成,可以連接到汽車的充電端口。充電單元使用電源為車輛充電,儲能裝置可以獨立地為機器人耦合器供電,而不管電源的充電狀態如何。這些系統可以通過編程控制器自動工作,充電后可以自動解耦,無需駕駛員操作。據外媒報道,福特汽車公司獲得了一項新型自動充電系統的專利。

該專利申請于2020年9月10日,于2022年9月13日公布,專利號為11440424。
新專利概述了電動汽車自動充電系統的概念。該系統包括電源和連接到電源的充電單元。充電單元由儲能裝置和機器人耦合器組成,可以連接到汽車的充電端口。充電單元使用電源為車輛充電,儲能裝置可以獨立地為機器人耦合器供電,而不管電源的充電狀態如何。這些系統可以通過編程控制器自動工作,充電后可以自動解耦,無需駕駛員操作。
9月21日,沃爾沃公布了下一代沃爾沃車型將搭載的全新技術,以及公布新一代沃爾沃純電旗艦SUV的命名,EX90。沃爾沃汽車總裁兼首席執行官駱文襟JimRowan進行了分享。
1900/1/1 0:00:00近日,我們從蔚來官方獲悉,NIOService迎來了煥新升級,其中包括全新設計的蔚來服務中心、第二代移動服務車、AR遠程診斷技術應用、服務衛士系統應用以及洗悅服務上線等。
1900/1/1 0:00:009月20日,韓國媒體《每日經濟新聞》和SBS電視臺援引未透露姓名的汽車業消息人士的話報道稱,起亞汽車預計將從2024年起在美國生產電動汽車。對此報道,起亞汽車未能立即置評。
1900/1/1 0:00:00汽車照明行業正處于演變中;LED(發光二極管)在高端車型中比傳統燈泡(鹵素燈和氙氣燈HID)更受歡迎,因為它在功耗、使用壽命、光強度和尺寸方面具有優勢。
1900/1/1 0:00:00蓋世汽車訊據外媒報道,9月19日,福特汽車向投資者表示,由于通貨膨脹和供應鏈問題,該公司預計第三季度將額外產生10億美元成本。
1900/1/1 0:00:001、3099萬元起,小鵬G9正式上市9月21日晚間,小鵬G9正式上市,共有6款車型,售價30994699萬元,預計第四季度大規模交付。
1900/1/1 0:00:00