據外媒報道,福特汽車公司已經向美國專利商標局(USPTO)申請了剎車燈檢測系統的新專利。

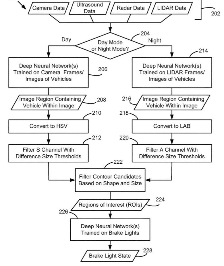
最近幾個月,福特申請了一系列與安全相關的專利,包括一個用于對抗太陽眩光的增強現實系統、一個車輛逆行檢測系統、一個分心駕駛檢測系統、一個輪胎壓力損失檢測和報警系統以及一個身體部位損失檢測系統。福特的新專利延續了這一趨勢,并概述了一種剎車燈檢測系統,這可能有助于避免輕微的交通事故。據外媒報道,福特汽車公司已經向美國專利商標局(USPTO)申請了剎車燈檢測系統的新專利。

最近幾個月,福特申請了一系列與安全相關的專利,包括一個用于對抗太陽眩光的增強現實系統、一個車輛逆行檢測系統、一個分心駕駛檢測系統、一個輪胎壓力損失檢測和報警系統以及一個身體部位損失檢測系統。福特的新專利延續了這一趨勢,并概述了一種剎車燈檢測系統,這可能有助于避免輕微的交通事故。
標簽:福特
7月21日,福特發布動力電池新增產能計劃,鎖定電池上游原材料供應,穩步推進2023年60萬輛、2026年200萬輛電動汽車增長目標。
1900/1/1 0:00:007月21日,首批1000輛MGMULAN在上海海通碼頭集結,正式運往歐洲。在歐洲將會以MG4命名,并在今年第四季度首發。
1900/1/1 0:00:00蓋世汽車訊據外媒報道,日本半導體和MEMS產品開發公司YITOAMicroTechnologyCorporation宣布開發出第二代汽車激光雷達MEMS振鏡IC:CG0006AR,
1900/1/1 0:00:007月21日,比亞迪股份有限公司(以下簡稱比亞迪)日本分公司(BYDJAPAN株式會社)在東京召開品牌發布會,繼商用車之后宣布正式進入日本乘用車市場,并亮相元PLUS、海豚和海豹三款車型。
1900/1/1 0:00:00車端目前產生大量的數據之中,各種數據來自于不同的傳感器、不同的域,自動駕駛域控制器基本已經實現了算力超過百T的資源配置,這就催生了車端數據庫的需求。
1900/1/1 0:00:00今年以來,新能源汽車市場實現快速增長。上半年,我國新能源汽車產銷均突破260萬輛,同比均增長12倍,市場滲透率達216。
1900/1/1 0:00:00