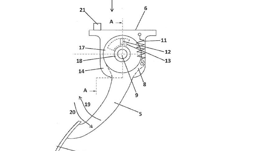
據外媒報道,汽車制造商賓利向USPTO申請了一項新專利:可調油門踏板總成,即用戶可以通過油門踏板不同程度的阻力來更精確地控制汽車,從而獲得更好的駕駛體驗。

車主可以設置踏板增加力度,使其充當虛擬踏板,這在定速巡航設置中非常有用。這是因為左腳位置的踏板是固定的,所以右腳可以擱在踏板上。定速巡航啟動后,踏板不會太靈敏,但在車主用力踩下時,仍能起到油門的作用。
1據外媒報道,汽車制造商賓利向USPTO申請了一項新專利:可調油門踏板總成,即用戶可以通過油門踏板不同程度的阻力來更精確地控制汽車,從而獲得更好的駕駛體驗。

車主可以設置踏板增加力度,使其充當虛擬踏板,這在定速巡航設置中非常有用。這是因為左腳位置的踏板是固定的,所以右腳可以擱在踏板上。定速巡航啟動后,踏板不會太靈敏,但在車主用力踩下時,仍能起到油門的作用。

標簽:賓利
7月15日,獵豹汽車等6家企業合并重整第一次債權人會議正式召開,會上獵豹汽車重整管理人公布了《合并重整計劃草案》,弘電新能源衡陽弘電新能源科技有限公司被確定為唯一重整投資人。
1900/1/1 0:00:00日前,我們從相關渠道了解到,NIODay2022城市申辦申請已于7月17日22點準時截止,官方表示,收到了眾多來自各城市提交的NIODay2022承辦申請。
1900/1/1 0:00:00蓋世汽車訊據外媒報道,麻省理工學院(MIT)計算機科學與人工智能實驗室(CSAIL)的科學家們創建出數據驅動的仿真引擎“VISTA2
1900/1/1 0:00:00蓋世汽車訊據外媒報道,大眾集團新成立的電池業務PowerCo正努力克服供應鏈方面的阻力,以提高電池產量,并準備進行首次公開募股(IPO)。
1900/1/1 0:00:00蓋世汽車訊據外媒報道,7月15日,一名推特用戶在推特上詢問特斯拉首席執行官馬斯克,是否有計劃降低因新冠疫情和供應鏈困境而提高的車輛價格。
1900/1/1 0:00:001、比亞迪攜3款電動車進軍日本市場,能否掀起日本車市新波瀾7月21日,比亞迪官方正式宣布,繼商用車之后,將要進軍日本乘用車市場,據悉比亞迪決定從2023年1月開始,
1900/1/1 0:00:00